Elektronická umyvadlová armatura Brenta se směšovačem, pro funkční box pod omítku
- Barva kartáčovaná nerez
- Materiál mosaz pochromovaná/plast
- K odběru pitné vody
- Pro veřejný a poloveřejný sektor
- Pro montáž do umyvadla nebo panelů s umyvadlem
- K montáži do instalačních prvků Geberit pro umyvadlo, stojánková armatura s funkčním boxem pod omítku
- K montáži do souprav pro hrubou montáž k umyvadlovým armaturám Geberit, stojánkové, s funkčním boxem pod omítku
- Pro připojení studené a teplé vody
- Pro použití s nerezovými dřezy
- Nanesená vrstva easy-to-clean
- Provedení není určeno pro průtokový ohřívač
- Skupina armatur I podle DIN 4109
- Automatické spuštění vody
- Samonastavitelné infračervené čidlo pro zaznamenání uživatele
- Odolný proti vandalům
- Omezení průtoku usměrňovačem proudu vody
- Nastavení teploty přes směšovač
- Voda nastavitelná jako ne pouze teplá nebo ne pouze studená
- Napájení z baterie
- Výstraha v případě slabé baterie
- Ekonomický režim provozu nastavitelný
- Úspora vody díky dvouproudové snímací technice s rychlou reakcí
- Funkce je možné servisním dálkovým ovládáním nastavit a dotazovat
- Program úspora vody nastavitelný
- Program intervalu propláchnutí nastavitelný
- Trvalé propláchnutí individuálně nastavitelné
- Ovládání spouštění deaktivovatelné pomocí ovládání pro údržbu Geberit
- Různé funkce ručně nastavitelné
- Se zabudovaným zpětným ventilem
- Funkční jednotka se zabudovanými košíkovými filtry
Technické údaje
- Typ baterie: Alkalická baterie (1,5 VAA)
- Druh ochrany: IPX4
- Provozní napětí: 3 V DC
- Provozní tlak: 50 - 1000 kPa
- Rozdíl tlaku studená/teplá voda: ≤ 150 kPa
- Maximální zkušební tlak vody: 1 600 kPa
- Maximální zkušební tlak vzduchu/inertního plynu: 300 kPa
- Teplota okolí: 1 – 40 °C
- Teplota skladování: -20 – +70 °C
- Maximální teplota vody: 60 °C
- Maximální teplota vody, krátkodobá: 90 °C
- Průtok při tlaku: 3 bar 5 l/min
- Výpočtový průtok: 0,07 l/s
- Minimální přetlak pro výpočtový průtok: 50 kPa
- Interval proplachu, rozsah nastavení: 1 - 168 h
- Interval spláchnutí, nastavení ve výrobě: 24 h
- Interval proplachu, rozsah nastavení: 5 - 200 s
- Interval spláchnutí, nastavení ve výrobě: 5 s
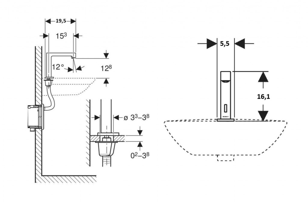
- Délka výtoku: 195 mm
- Výška baterie: 161 mm
- Komfortní zóna: 128 mm
Obsah dodávky
- Umyvadlová armatura s infračerveným senzorem a hadicí pro přívod vody
- Řídicí elektronika
- Funkční jednotka
- Pouzdro na baterie
- 2 alkalické manganové baterie typu AA, 1,5 V
- Klíč pro usměrňovač proudu vody
- Upevňovací materiál
Ilustrační foto
Parametry
| Kód | 116.194.SN.1 |
|---|
Na balení si zakládáme! Prohlédněte si, jak připravujeme a zabalíme Vaši objednávku.
