Sprchová podlahová vpusť
- K montáži uvnitř budov
- Pro podlahové krytiny z vinylu (PVC) do tloušťky 3 mm
- K odvodnění sprch v úrovni podlahy
- Vhodný pro bezbariérové stavby
- Pro výšky mazaniny ≥ 114 mm u vtoku
- Kontrola jakosti dle EN 1253-3
- Rošt z nerezové oceli
- Základní těleso z EPS pro přerušení přenosu hluku a umístění zápachové uzávěrky
- Zatížitelnost třída K 3 (3 kN)
Technické údaje
- Průtočná kapacita 0.8 l/s
- Výška vodního uzávěru 50 mm
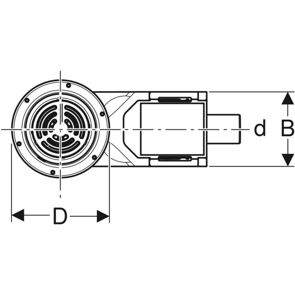
- rozměry: DN50, d = 50 mm
- D = 170 mm, L = 300 mm
- L1 = 358 mm, B = 130 mm
- H = 90 mm, h = 42 mm
Obsah dodávky
- Ochranný kryt s montážními pomůckami
- Hřebenové sítko
- Rošt
- Zápachová uzávěrka z PE-HD
- Upevňovací materiál
- Distanční destička, tloušťka 2 cm
Parametry
| Kód | 154.055.00.1 |
|---|
Na balení si zakládáme! Prohlédněte si, jak připravujeme a zabalíme Vaši objednávku.
