Sprchová podlahová vpusť
- K montáži uvnitř budov
- K odvodnění sprch v úrovni podlahy
- Vhodný pro bezbariérové stavby
- Pro sdružené izolace
- K zachycení odpadní vody jedné samostatné sprchové hlavice
- K montáži při velmi malé tloušťce podlahy
- Pro výšku mazaniny ≥ 65 mm u vtoku
- U velikostí obkládacích dlaždic dbejte na překrytí mazaniny základního tělesa
- Materiál a tloušťku mazaniny nechejte definovat ze strany obkladače
- Podlahové dlaždice z přírodního kamene mohou v rozsahu sprchy změnit barvu
Vlastnosti
- Výška vodního uzávěru jen 30 mm se liší od požadavků normy EN 1253
- Určeno pro tloušťky obkladu na podlahu 2–30 mm
- Integrovaná těsnící netkaná textilie
- Těsnicí netkaná textilie s obvodovým přesahem 10 cm, pro napojení těsnicích systémů
- Rošt z nerezové oceli
- Rošt nastavitelný výškově, sklonem i vyosením
- Základní těleso z EPS pro přerušení přenosu hluku a umístění zápachové uzávěrky
- Zatížitelnost třída K 3 (3 kN)
- Odvod vody nad sdruženou izolací
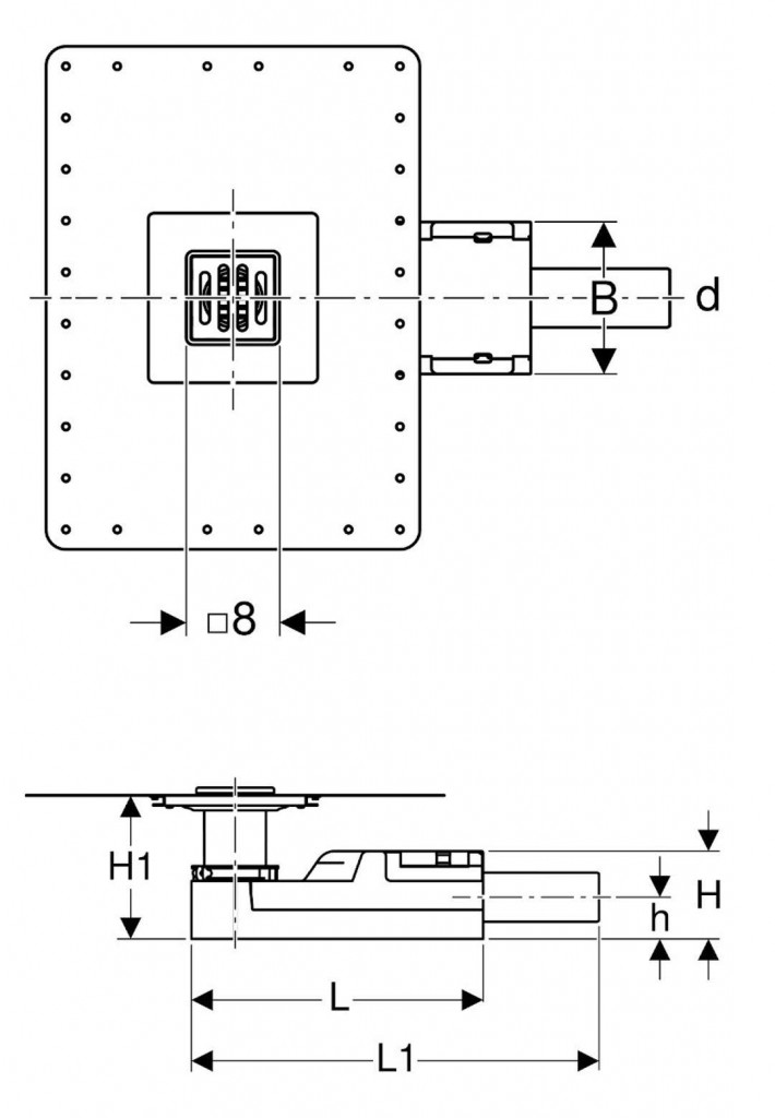
Technická specifikace
- Průtočná kapacita: 0.4 l/s
- Výška vodního uzávěru: 30 mm
- rozměry: DN 40, d Ø 40 mm, L = 300 mm, L1 = 358 mm
- rozměry: B = 130 mm, H = 65 mm, H1 = 65-175 mm, h 32 mm
Obsah dodávky
- Ochranný kryt s referenční hranou
- Nástavec pro tenkou vrstvu
- Hřebenové sítko
- Rámeček roštu s vyrovnávacím kroužkem
- Rošt
- Zápachová uzávěrka z PE-HD
- Upevňovací materiál
Lze objednat dodatečně
- Designový rošt Geberit
Parametry
| Kód | 154.052.00.1 |
|---|
Na balení si zakládáme! Prohlédněte si, jak připravujeme a zabalíme Vaši objednávku.
