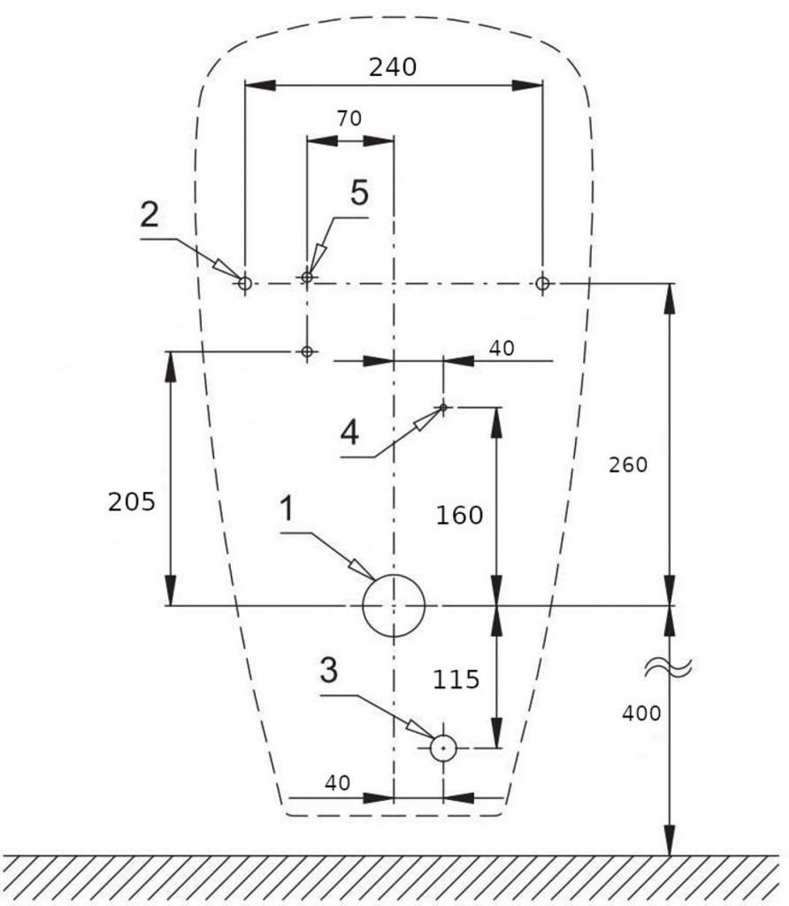
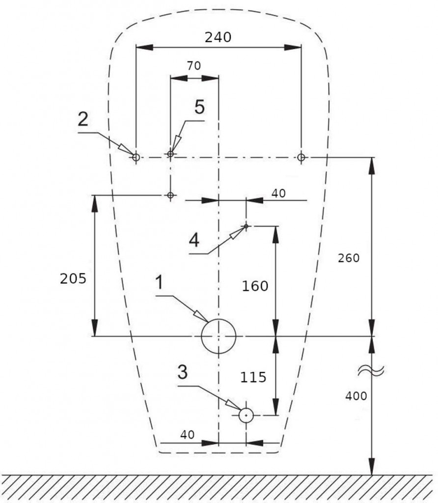
Keramický pisoár s radarovým splachovačem na montážní liště, elektromagnetický ventil
Vlastnosti
- keramický pisoár s technologií bezokrajového splachování
- úsporné splachování jedním litrem vody
- jednoduchá montáž podle montážní šablony
- celý splachovací systém je umístěný za pisoárem
- reaguje pouze na použití pisoáru (vyhodnocuje změny, ke kterým dochází uvnitř pisoáru při průtoku kapaliny)
- doba splachování je nastavitelná od 0,5 do 15,5 sekundy
- nastavení parametrů pomocí dálkového ovladače SLD 04 bez nutnosti demontáže pisoáru (akustická indikace nastavování)
- samočinné spláchnutí po 6 hodinách od posledního sepnutí ventilu
- hlídání stavu baterie (u variant s indexem B)
- možnost regulace průtoku vody kulovým ventilem
- po spláchnutí provede splachovač krátké doplnění vody do sifonu
Specifikace dodávky
- SLP 49RS - obj. č. 01495 - keramický pisoár s radarovým splachovačem na montážní liště, elektromagnetický ventil, propojovací hadice, rohový ventil s filtrem a zpětnou klapkou, vtoková armatura s těsněním, sifon, úchytová sada, montážní šablona
Technická specifikace
- napájení 24V DC
- umístění za pisoárem
- splachovač včetně pisoáru
- ovládání radarové
- napájecí napětí: 24V DC
- doporučený pracovní tlak: 0,1-0,6 MPa
- průtok 18 l/min (inf. údaj)
- vstup vody vnější závit G 1/2
- výstup vody vtoková armatura s těsněním
Parametry
| Kód | SLP 49RS |
|---|
Na balení si zakládáme! Prohlédněte si, jak připravujeme a zabalíme Vaši objednávku.
