Elekronická umyvadlová armatura Brenta bez směšovače, pro funkční box pod omítku
Účel použití
- K odběru pitné vody
- Pro veřejný a poloveřejný sektor
- K montáži do instalačních prvků Geberit pro umyvadlo, nástěnná armatura s funkčním boxem pod omítku
- Pro připojení studené a teplé vody (jen u provedení se směšovačem)
- Pro připojení studené a smíchané vody (jen u provedení bez směšovače)
- Pro použití s nerezovými dřezy
- Provedení se směšovačem není určeno pro průtokový ohřívač
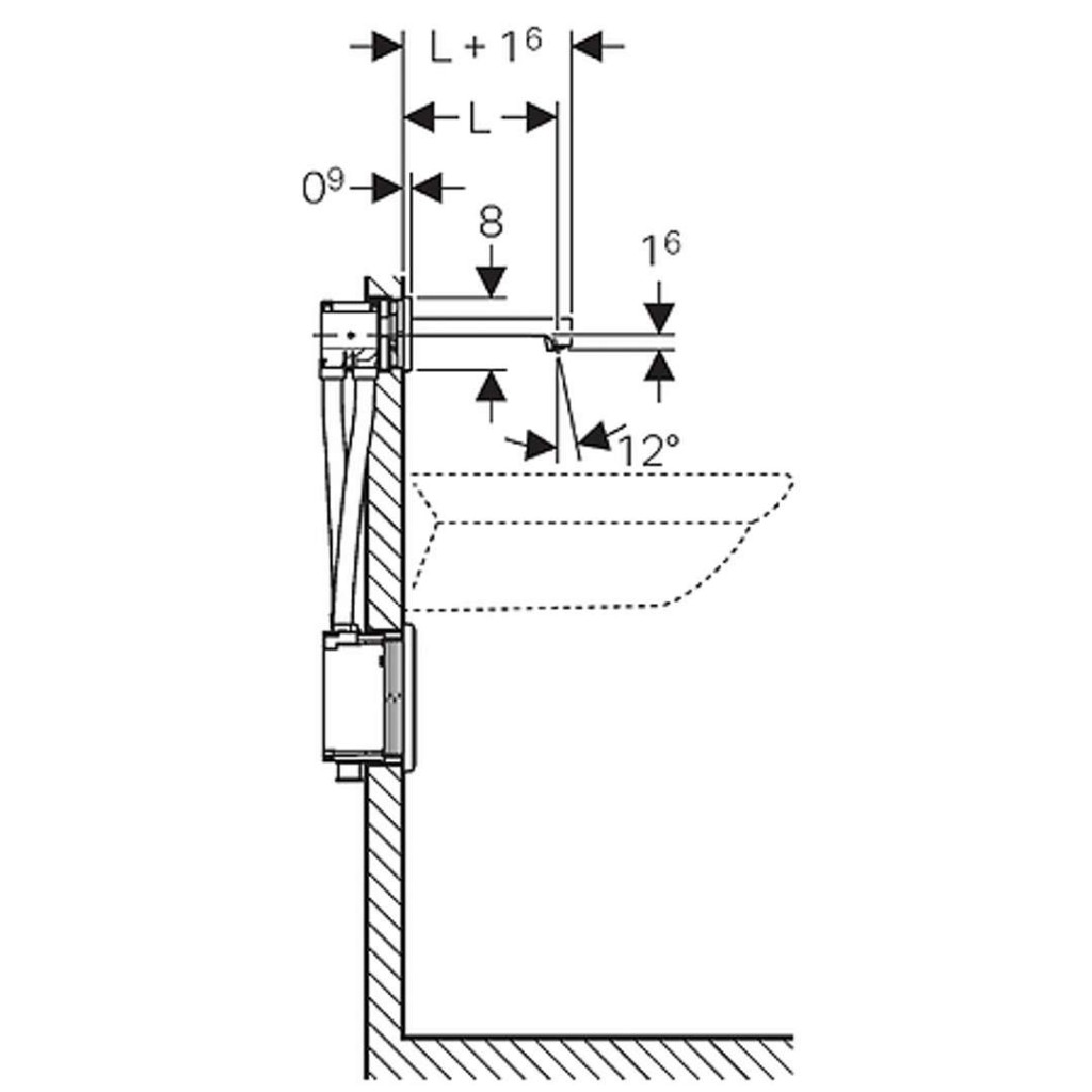
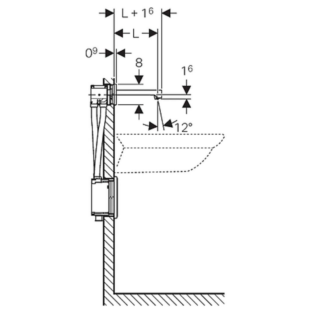
- Pro tloušťky opláštění 10–50 mm
Vlastnosti
- Skupina armatur I podle DIN 4109
- Automatické spuštění vody
- Infračervené čidlo pro zaznamenání uživatele
- Infračervený senzor samonastavitelný
- Odolný proti vandalům
- Omezení průtoku usměrňovačem proudu vody
- Nastavení teploty přes směšovač (pouze u provedení se směšovačem)
- Voda nastavitelná jako ne pouze teplá nebo ne pouze studená (pouze u provedení se směšovačem)
- Napájení pomocí síťového zdroje
- Ekonomický režim provozu nastavitelný
- Úspora vody díky dvouproudové snímací technice s rychlou reakcí
- Funkce je možné servisním dálkovým ovládáním nastavit a dotazovat
- Program úspora vody nastavitelný
- Program intervalu propláchnutí nastavitelný
- Trvalé propláchnutí individuálně nastavitelné
- Ovádání spouštění deaktivovatelné pomocí ovládání pro údržbu Geberit
- Různé funkce ručně nastavitelné
- Se zabudovaným zpětným ventilem
- Funkční jednotka se zabudovanými košíkovými filtry
Technické údaje
- Druh ochrany: IPX4
- Jmenovité napětí: 110-240 V AC
- Síťová frekvence: 50-60 Hz
- Provozní napětí: 4.5 V DC
- Příkon: 0.1 W
- Provozní tlak: 50-1000 kPa
- Rozdíl tlaku studená/teplá voda: ≤ 150 kPa
- Maximální zkušební tlak vody: 1600 kPa
- Maximální zkušební tlak vzduchu / inertního plynu: 300 kPa
- Teplota okolí: 1–40 °C
- Teplota skladování: -20 – +70 °C
- Maximální teplota vody: 60 °C
- Maximální teplota vody, krátkodobá: 90 °C
- Průtok při tlaku 3 bar: 5 l/min
- Výpočtový průtok: 0.07 l/s
- Minimální přetlak pro výpočtový průtok: 50 kPa
- Interval proplachu, rozsah nastavení: 1-168 h
- Interval spláchnutí, nastavení ve výrobě: 24 h
- Interval proplachu, rozsah nastavení: 5-200 s
- Interval spláchnutí, nastavení ve výrobě: 5 s
- Materiál: mosaz pochromovaná/plast
Obsah dodávky
- Umyvadlová armatura
- Infračervený senzor s připojovacím kabelem
- Řídicí elektronika
- Funkční jednotka
- Síťový zdroj
- Klíč pro usměrňovač proudu vody
- Upevňovací materiál
Parametry
| Kód | 116.291.21.1 |
|---|
Na balení si zakládáme! Prohlédněte si, jak připravujeme a zabalíme Vaši objednávku.
