Elektronická umyvadlová armatura Brenta se směšovačem, pro funkční box pod omítku
- Barva matná černá
- Materiál mosaz pochromovaná/plast
- K odběru pitné vody
- Pro veřejný a poloveřejný sektor
- K montáži do instalačních prvků Geberit pro umyvadlo, nástěnná armatura s funkčním boxem pod omítku
- Pro připojení studené a teplé vody
- Pro použití s nerezovými dřezy
- Provedení se směšovačem není určeno pro průtokový ohřívač
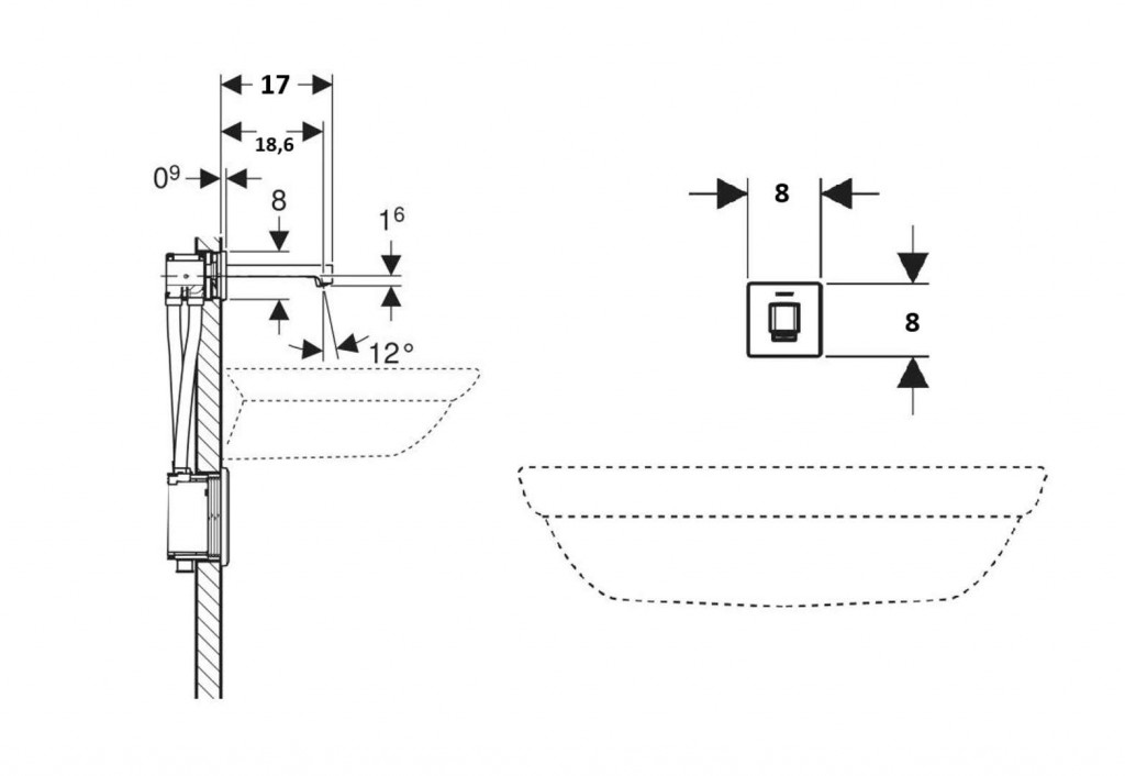
- Pro tloušťky opláštění 10 – 50 mm
- Skupina armatur I podle DIN 4109
- Automatické spuštění vody
- Samonastavitelné infračervené čidlo pro zaznamenání uživatele
- Odolný proti vandalům
- Nanesená vrstva easy-to-clean
- Omezení průtoku usměrňovačem proudu vody
- Nastavení teploty přes směšovač
- Napájení pomocí síťového zdroje
- Ekonomický režim provozu nastavitelný
- Úspora vody díky dvouproudové snímací technice s rychlou reakcí
- Funkce je možné servisním dálkovým ovládáním nastavit a dotazovat
- Program úspora vody nastavitelný
- Program intervalu propláchnutí nastavitelný
- Trvalé propláchnutí individuálně nastavitelné
- Ovládání spouštění deaktivovatelné pomocí ovládání pro údržbu Geberit
- Různé funkce ručně nastavitelné
- Se zabudovaným zpětným ventilem
- Funkční jednotka se zabudovanými košíkovými filtry
Technické údaje
- Druh ochrany: IPX4
- Jmenovité napětí: 110 - 240 V AC
- Síťová frekvence: 50 - 60 Hz
- Provozní napětí: 4,5 V DC
- Příkon: 0,1 W
- Provozní tlak: 50 - 1000 kPa
- Rozdíl tlaku studená/teplá voda: ≤ 150 kPa
- Maximální zkušební tlak vody: 1 600 kPa
- Maximální zkušební tlak vzduchu / inertního plynu: 300 kPa
- Teplota okolí: 1 – 40 °C
- Teplota skladování: -20 – +70 °C
- Maximální teplota vody: 60 °C
- Maximální teplota vody, krátkodobá: 90 °C
- Průtok při tlaku 3 bar: 5 l/min
- Výpočtový průtok: 0,07 l/s
- Minimální přetlak pro výpočtový průtok: 50 kPa
- Interval proplachu, rozsah nastavení: 1 - 168 h
- Interval spláchnutí, nastavení ve výrobě: 24 h
- Interval proplachu, rozsah nastavení: 5 - 200 s
- Interval spláchnutí, nastavení ve výrobě: 5 s
- Délka výtoku: 186 mm
Obsah dodávky
- Umyvadlová armatura
- Infračervený senzor s připojovacím kabelem
- Řídicí elektronika
- Funkční jednotka
- Síťový zdroj
- Klíč pro usměrňovač proudu vody
- Upevňovací materiál
Ilustrační foto
Parametry
| Kód | 116.272.14.1 |
|---|
Na balení si zakládáme! Prohlédněte si, jak připravujeme a zabalíme Vaši objednávku.
